Ovládnite hladinu s najtichším motorom na trhu
Hľadáte nekompromisný výkon a chirurgickú presnosť? Lowrance Recon definuje novú éru trolling motorov. S ťahom až 115 lbs, hmotnosťou len 18 kg a doživotnou zárukou na hriadeľ ide o technológiu, ktorá navždy zmení váš štýl rybolovu.
V tomto sprievodcovi vám poradíme, ako si správne vybrať dĺžku hriadeľa a využiť potenciál GPS kotvenia na maximum.
Trolling motor (vlečný elektromotor) sa používa predovšetkým na tiché a presné manévrovanie s loďou pri nízkych rýchlostiach, čo je ideálne pre rybárov, majiteľov malých člnov, kajakov a jácht. Na rozdiel od hlavného spaľovacieho motora umožňuje jemné, tiché ovládanie bez plašenia rýb.
V našom článku sa budeme venovať výkonnejším motorom so zabudovaným GPS a možnosťou prepojenia s plotrom (sonar/navigátorom).
Trolling motor Lowrance Recon nainštalovaný na prove rybárskeho člna v akcii.
Hlavné funkcie a využitie trolling motora:
- Tichý rybolov – Umožňuje pomalú a hlavne tichú plavbu a pohyb po vodnej hladine bez plašenia rýb.
- Presné kotvenie – Motory s GPS sa dokážu automaticky plaviť na vami určené miesto alebo bod uložený vo vašom sonare / GPS navigátore a dokážu udržať loď na presne zadanom mieste (virtuálna kotva), čo je kľúčové pri love na presne určených miestach.
- Plavba v stiesnených priestoroch – Trolling motor uľahčuje manévrovanie okolo prekážok, popri brehu alebo v plytkých vodách.
- Sila ťahu – Montuje sa na provu (predok lode), čo poskytuje lepšiu kontrolu nad smerom jazdy (ťahá čln, namiesto tlačenia).
- Autopilot – Umožňuje automatickú plavbu k danému miestu, udržiava nastavený kurz plavby, alebo si môžete vybrať z viacerých vzorov pre automatickú plavbu pri love na trolling – motor môže automaticky viesť loď do tvaru "S", cik-cak vľavo - vpravo podľa zadaných dĺžok, do kruhu, do štvorca, ... .
- Ovládanie bez použitia rúk – Motor je možné ovládať nožným pedálom alebo diaľkovým ovládačom, vďaka čomu môžu rybári ovládať loď a zároveň sa venovať rybolovu. Zvyčajne ponúkajú možnosť prepojenia s vaším sonarom/navigátorom a tak môžete motor ovládať aj dotykom obrazovky sonaru.
Ovládanie motora Lowrance Recon cez nožný pedál
Ovládanie motora Lowrance Recon cez diaľkový ovládač FreeSteer.
Napájanie a výber akumulátora
Tieto motory sú napájané z akumulátorov a sú ekologické. Napájacie akumulátory hlavne pre ich rozmery a hmotnosť odporúčame v prevedení LiFePo4.
Kapacita akumulátora nie je vždy rozhodujúca, pri výbere akumulátorov treba vždy vziať do úvahy okrem iného trvalý odber prúdu, ktorý je možné odoberať z akumulátora, aby spĺňal potreby vášho motora. Preto nie je možné porovnávať akumulátory s rovnakou kapacitou len podľa ceny.
Kvalitné LiFePo4 akumulátory pre trolling motory.
Niektoré akumulátory sú drahšie pre možný vysoký odber prúdu, ale aj pre dlhšiu poskytovanú záručnú dobu či pre zabudované vyhrievanie akumulátora pre nabíjanie akumulátora pri nízkych teplotách. Väčšina tiež poskytuje bezdrôtové monitorovanie stavu akumulátora cez aplikáciu v smartfóne.
Bluetooth monitoring LiFePo4 akumulátorov.
Verzie motora a predstavenie Lowrance Recon
Trolling motory sa vyrábajú v prevedeniach na slanú alebo sladkú vodu.
Porovnanie modelov Lowrance Recon pre sladkú vodu a slanú morskú vodu.
Podľa hore uvedených funkcií a možností sú najlepšou voľbou trollingové motory Lowrance Recon. Recon motory sú skutočne extrémne tiché, výkonné, majú zabudované GPS s ktorým dosahujú najlepšiu presnosť navigácie a kotvenia.
Vyrábajú sa vo viacerých dĺžkach hriadeľa, aby vyhovovali rôznym typom lodí a podmienkam na vode. Dĺžka hriadeľa je kľúčová pre to, aby bol motor správne ponorený a nechytal vzduch pri vlnách. Lowrance Recon je k dispozícii v dĺžkach hriadeľa 48”, 54”, 60” a 72” (palcov).
Prehľad dĺžok hriadeľa Lowrance Recon: 48, 54, 60 a 72 palcov.
Rozdelenie dĺžok hriadeľa podľa typu lode
Tu je rozdelenie, aké dĺžky hriadeľa sú určené pre aké lode, založené na všeobecných pravidlách pre trolling motory a špecifikáciách Lowrance:
1. Dĺžka 48 palcov (122 cm)
Vhodné pre: menšie rybárske lode, hliníkové člny s nižším profilom, menšie bass lode.
Použitie: Všestranné použitie, jazerá a rieky.
2. Dĺžka 54 palcov (137 cm)
Vhodné pre: stredne veľké rybárske lode, bass boats, menšie stredové konzoly (do dĺžky cca 5 metrov).
Použitie: Všestranné použitie, zvládne stredné a väčšie vlny. Je to univerzálna dĺžka pre mnoho bežných športových rybárskych člnov.
3. Dĺžka 60 palcov (152 cm)
Vhodné pre: Väčšie rybárske lode, stredové konzoly, lode s vyšším profilom (vysoký voľný bok/freeboard) (dĺžky cca 5 až 6 metrov).
Použitie: Vhodné na väčšie jazerá a otvorené pobrežné oblasti, kde sú častejšie väčšie vlny.
4. Dĺžka 72 palcov (183 cm)
Vhodné pre: Veľké offshore lode (otvorené more), veľké hliníkové lode, pontónové lode a hlboké stredové konzoly (dĺžka lode 6 metrov a viac).
Použitie: Otvorené more, vysoké vlny a silný vietor, kde hrozí, že kratší motor by sa vynoril.
Motory určené na more - Saltwater modely sa zvyčajne zameriavajú hlavne z dôvodu väčších lodí a použitia aj v horších podmienkach s väčšími vlnami na dlhšie hriadele 54" - 72" palcov.
Inštalácia trolling motora Lowrance Recon na offshore lodi určenej na more.
Pri výbere vždy treba brať do úvahy hlavne veľkosť lode - dĺžka a výška miesta inštalácie nad hladinou, a aké sú predpokladané podmienky použitia - kľudná hladina alebo silný vietor a vlny?
Motory Recon s menšou dĺžkou hriadeľa majú rovnaký úžasný výkon ako väčšie motory a svojim výkonom zvládnu vlny aj silný tok rieky, ale aj motor ktorý za kľudných podmienok na vode pracuje skvele môže v prípade vysokých vĺn a tým spôbeným kolísaním lode chytať vzduch čo nie je dobré ani pre motor ani pre posádku.
Preto ak váhate medzi dvoma dĺžkami platí - Väčší je lepší - vždy zvoľte dlhší hriadeľ.
Dlhší hriadeľ sa dá na plytších vodách posunúť vyššie, ale z krátkeho hriadeľa už dlhší nespravíte.
Nastavenie správneho ponoru vrtule pomocou hĺbkovej objímky.
Ako si správne vybrať?
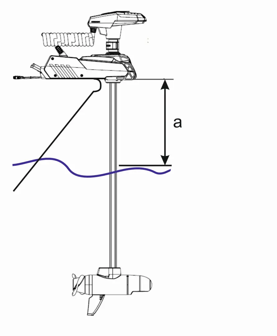
1. Zmerajte vzdialenosť:
Zmerajte vzdialenosť od miesta, kde bude motor upevnený na prove (prednej časti lode), až po hladinu vody (pri zaťaženej lodi), rozmer označený "a" na obrázku.
2. Pridajte k tomu:
K tejto hodnote "a" pripočítajte aspoň 50-60 cm (cca 20-24 palcov), aby bola motorová časť dostatočne hlboko pod vodou. Súčtom týchto údajov získate informáciu o vhodnej dĺžke hriadeľa motora.
3. Ako už bolo popísané vyššie:
Väčší je lepší.
Grafický návod ako merať rozmer lode pre správny výber dĺžky hriadeľa trolling motora.
Prečo odporúčame práve Lowrance Recon?
Z jednoduchého dôvodu:
- Najlepší výkon vo svojej triede
- Presné určovanie polohy pomocou GPS
- Presné GPS kotvenie
- Extrémne tichý bezkomutátorový 24V/36V motor
- Ľahký joystick FreeSteer™ diaľkový ovládač s farebným LCD displejom
- Ovládanie motora z ktoréhokoľvek miesta na palube s diaľkovým ovládačom
- Bezdrôtový, konfigurovateľný nožný pedál pre motory na sladkú vodu
- Plug-and-play upgradovateľná sonda v motore
- Veľa montážnych možností pre príslušenstvo
- Konektivita NMEA 2000 pre ovládanie z vášho dotykového sonaru Lowrance
- Navrhnutý na posilnenie vašej rybačky
- Navrhnuté rybármi pre rybárov
- Doživotná záruka na hriadeľ
- 3-ročná záruka na motor
- Dĺžky hriadeľa – 48, 54, 60 a 72
- Morské a sladkovodné modely
Revolučné ovládanie
Diaľkové ovládanie FreeSteer™ – ľahké, prenosné diaľkové ovládanie s joystickom a farebným displejom, ktoré máte všade so sebou a poskytuje úplne presné riadenie v rozsahu 360 stupňov. Pre plnú flexibilitu je motor ovládateľný aj cez obrazovku sonaru cez NMEA2000 a bezdrôtovým nožným pedálom s okamžitou odozvou a programovateľnými tlačidlami.
Bezdrôtový ovládač a nožný pedál Lowrance.
Bezkonkurenčná presnosť
Najlepší výkon vo svojej triede vám dáva istotu, že sa dostanete potichu na svoju pozíciu, zatiaľ čo vysoko presná GPS kotva vás udrží na vašej pozícii bez ohľadu na podmienky a udrží vás na mieste s neuveriteľnou presnosťou 1 meter.
Ukážka presnosti GPS kotvenia motora Lowrance Recon s odchýlkou do 1 metra.
Zabudovaná sonarová sonda
Motory na sladkú vodu majú zabudovanú sondu HDI. Táto sonda sa dá vymeniť za doplnkovú sondu Active Imaging™ 3-v-1 pre viac zobrazení.
Porovnanie zabudovanej sondy HDI a doplnkovej sondy Active Imaging 3-v-1 v trolling motore Lowrance Recon
Dosť odolný na čokoľvek
Nezničiteľný kompozitný hriadeľ naplnený uhlíkovými vláknami je taký pevný, že naň výrobca poskytuje doživotnú záruku.
Pohľad na kompozitný hriadeľ motora Lowrance Recon, na ktorý je doživotná záruka.
Určené pre rybárov
Motory Recon boli navrhnuté rybármi pre rybárov a rybári poznajú detaily, na ktorých záleží. Či už sú to viaceré upevňovacie body príslušenstva, hĺbková objímka s vačkovým zámkom, ktorý umožňuje nastavenie pri plavbe, alebo LED indikátory a podsvietené ovládacie prvky, ktoré zaručujú skvelú viditeľnosť, aj keď svetlo ubúda.
To je rozdiel, ktorý získate u Lowrance Recon.
Motor Lowrance Recon na lodi
Na záver je dôležité doplniť, že Lowrance Recon ponúka bezkonkurenčný výkon a tichú prevádzku s ťahom v rozmedzí 80 až 115 lbs. Napriek svojej obrovskej sile si zachováva nízku hmotnosť – napríklad samotný motor Recon 54 váži len okolo 18 kg, čo je vzhľadom na jeho výkon a robustnosť vynikajúci údaj uľahčujúci manipuláciu aj montáž.
Prečo je Lowrance Recon jasnou voľbou pre rybára?
"Skonštruované profesionálmi, ktorí vedia, čo rybačka v náročných podmienkach obnáša."
💪 Brutálna sila a ľahkosť
Ťah až 115 lbs si poradí s vetrom aj prúdom, zatiaľ čo hmotnosť iba 18 kg (pri 54" modeli) nepreťažuje provu vašej lode.
🤫 Absolútne ticho
Bezkomutátorová technológia eliminuje vibrácie a hluk. Ryby o vás nebudú vedieť, kým nebudú na háčiku.
🎯 Chirurgická presnosť
GPS kotva vás udrží na "horúcom mieste" s presnosťou na 1 meter. Žiadne splavovanie, žiadne neustále korigovanie motorom.
🕹️ Sloboda pohybu
S ovládačom FreeSteer™ riadite loď z akéhokoľvek miesta na palube. Venujte sa prútu, nie kormidlu.
🛡️ Investícia bez rizika
S doživotnou zárukou na karbónový hriadeľ a 3-ročnou zárukou na motor kupujete istotu na dlhé roky dopredu.
Často kladené otázky (FAQ)
Aký silný ťah (lbs) má Lowrance Recon?
Motor Recon ponúka špičkový výkon v rozmedzí 80 až 115 lbs (v závislosti od napájania 24V alebo 36V), čo z neho robí jeden z najsilnejších motorov na trhu.
Je hriadeľ naozaj nezničiteľný?
Hriadeľ je vyrobený z kompozitu plneného uhlíkovými vláknami. Je navrhnutý tak, aby pružil pri náraze do prekážok. Výrobca Lowrance naň poskytuje doživotnú záruku.
Môžem motor ovládať priamo cez sonar?
Áno, vďaka konektivite NMEA 2000® môžete motor Recon plne ovládať cez dotykovú obrazovku kompatibilných sonarov Lowrance (napr. HDS PRO, HDS LIVE, Elite FS).
Koľko váži model Recon 54?
Samotný motor Recon s 54" hriadeľom váži približne 18 kg, čo je vynikajúci pomer výkonu a hmotnosti v porovnaní s konkurenčnými modelmi.
Akú batériu potrebujem pre Recon?
Odporúčame kvalitné LiFePo4 akumulátory s vysokým trvalým odberom prúdu. Motor je kompatibilný s 24V aj 36V systémami.
Zhrnuté a podčiarknuté: Prečo Recon?
Výber správneho motora nie je len o dĺžke hriadeľa, ale o istote na vode. S Lowrance Recon získavate:
- ✅ Extrémny výkon (až 115 lbs) pri neuveriteľne nízkej váhe (18 kg).
- ✅ Dokonalé ticho, ktoré vám dovolí prísť k rybe na dosah ruky.
- ✅ GPS technológiu, ktorá drží loď za vás, zatiaľ čo vy lovíte.
- ✅ Doživotnú záruku na hriadeľ – motor, ktorý vás nikdy nesklame.
Nestrácajte čas bojom s vetrom a prúdom. Ovládnite hladinu s Recon.
Odborný garant článku
Tento článok pripravil Juraj Žitnanský, špecialista na sonary, radary, GPS a trolling motory značiek Lowrance, Simrad a Lucky zo spoločnosti SPORTS.sk. Uvedenej problematike sa profesionálne venuje viac ako 20 rokov.
Máte nezodpovedané technické otázky?
Neváhajte sa obrátiť priamo na nášho špecialistu.
technik@sports.sk



